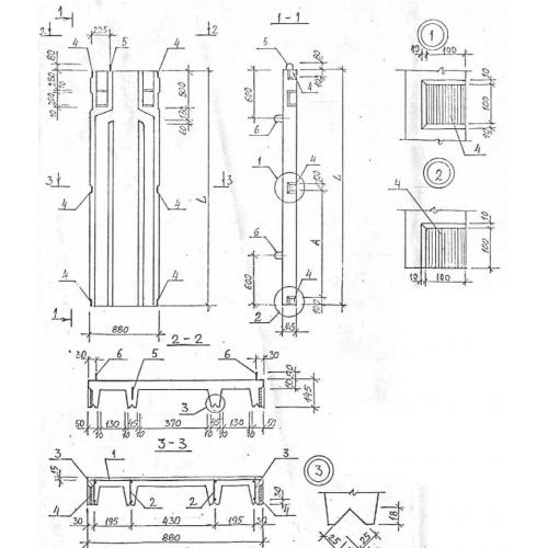
Вентблок ВБ 3 уд предназначен для использования в железобетонных конструкциях. Он обеспечивает надежное и эффективное вентиляционное отверстие, позволяя поддерживать оптимальный микроклимат внутри здания. Благодаря своей прочности и долговечности, данный вентблок обеспечивает надежную защиту от влаги, пыли и других негативных воздействий.









